索  引  号 11622901013956984P/2023-00027 主题分类 机构职能
发文字号 制发机构
有效期限 有效性
成文日期 2023-06-20 发布日期 2023-06-20
标        题 临夏州2023年普通高中学校招生志愿填报开始了

临夏州2023年普通高中学校招生志愿填报开始了

发布时间:2023-06-20 来源:折桥镇 浏览次数:

字号:

收藏

各位初三年级家长,同学们:

6月16日,州教育局下发《关于做好临夏州2023年普通高中学校志愿填报工作的通知》,对全州普通高中学校招生志愿填报工作进行安排和要求,现将有关事项通知如下。

一、填报时间安排

6月20日8:00至6月25日18:00

考生填报志愿信息后,可在网报期间查看、修改自己的志愿信息,网报结束后,一律不能再进行修改。

二、填报网址

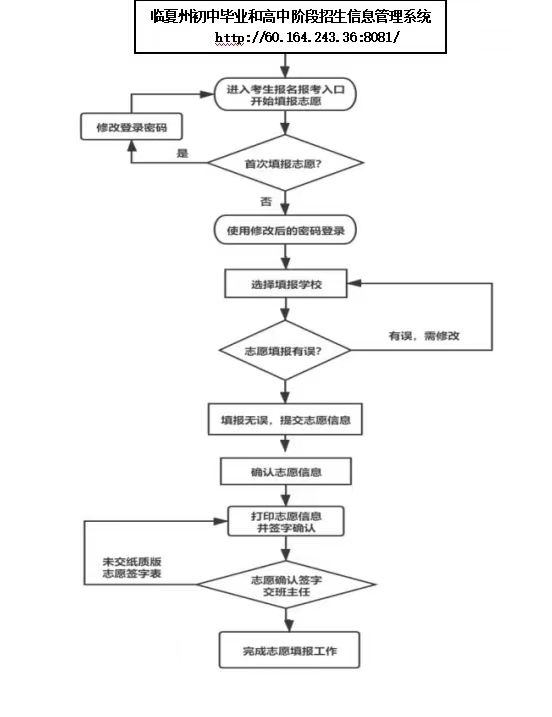
http://60.164.243.36:8081/

三、填报流程及方法

1.志愿设置

志愿批次按照《临夏州2023年普通高中学校招生工作实施方案》所列批次为准,考生根据自身学情进行志愿填报;“第二批次”和“第三批次”志愿填报,由各县市教育局负责,考生按照各县市制定的招生录取工作方案进行志愿填报。

2.填报方法

 

3.志愿打印

学生志愿提交后由学校负责打印志愿表,由学生本人签字确认后,将志愿确认表收集核对,核对无误后上报各县市教育局存档备案。

各县市招生工作咨询电话

临夏市教育局 6326638

临夏县教育局 3224209

永靖县教育局 8836117

康乐县教育局 4421976

和政县教科局 5523677

广河县教育局 5623894

东乡县教育局 6923006

积石山县教育局 7724326

举报监督电话 6225687(州纪委监委派驻州教育局纪检监察组) 6213819(州教育局基础教育科)

请各位同学和家长认真阅读报名流程,在规定的时间内完成志愿填报。最后,预祝同学们心想事成,考入自己理想的学校!