| 索 引 号 | 11622901013956984P/2025-00101 | 主题分类 | 信息公开 |
| 发文字号 | 制发机构 | ||
| 有效期限 | 有效性 | ||
| 成文日期 | 2025-06-20 | 发布日期 | 2025-06-20 |
| 标 题 | 【公告】2025年临夏市普通高中学校招生志愿填报公告 | ||
各位初三年级家长,同学们:
为了顺利完成我市中考志愿填报工作,根据州教育局《关于做好临夏州2025年普通高中学校志愿填报工作的通知》,对全市普通高中学校招生志愿填报工作进行统一安排和要求,现将有关事项通知如下:
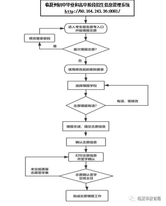
一、网上志愿填报(第一批次(自主招生志愿、州直高中及省级示范性高中志愿)、第二批次)
(一)填报时间安排:6月20日8:00至6月25日18:00,逾期不填报将视为自愿放弃。考生填报志愿信息后,可在网上报名时间内查看、修改自己的志愿信息,志愿填报时间截止后,一律不能再进行修改。
(二)填报网址:
http://60.164.243.36:8081
(三)填报流程及方法:
1.志愿设置:志愿批次按照《2025年临夏州高中阶段学校招生工作方案》所列批次为准,考生根据自身学情进行志愿填报。
2.填报方法:
3.志愿打印:学生志愿提交后由学校负责打印志愿表,由学生本人认真核对报名号、姓名、志愿等信息后签字确认,由学校统一上交市教育局招生办存档备案。
二、现场志愿填报(第三批次)
(一)填报时间安排:6月20日8:00至6月25日18:00,逾期不填报将视为自愿放弃。具体时间由各初中学校根据各自实际统一安排。
(二)填报地点:各就读学校。
(三)填报流程及方法:
1.志愿设置:本批次设河州中学和临夏德雅高级中学(民办)两所学校,考生根据自身学情只能选择一所进行志愿填报。
2.填报方法:由学生在纸质版的《2025年临夏市普通高中招生志愿表》中填报(一式两份,学校和教育局各保存一份),此表现场领取或自行打印。填报完成后由家长(监护人)和学生签字后上交学校。
3.志愿表上交:学校汇总完成《2025年临夏市高中阶段学校招生志愿信息汇总表》,核对无误后将此表电子版加盖公章后连同一份学生的《2025年临夏市普通高中招生志愿表》一起上交市教育局招生办。
4.临夏市户籍在外就读学生志愿填报:报名参加了临夏市2025年初中毕业与高中阶段学校招生考试(包括体育考试)的考生,网上志愿填报确认表收交和纸质版志愿填报工作到临夏市招生办现场办理。
临夏市招生办地址:临夏市前河沿路6-104号(原民族医院)2楼207室
请各位同学和家长认真阅读填报流程,在规定的时间内完成志愿填报。最后,预祝同学们考入自己理想的学校!
临夏市招生办咨询电话:0930-6326638
